2015上海地铁正月初一运营么
每年都正常运行,各号线首发时间和往常一样,除非有临时通知,一般不会变的。
2015年春节上海地铁延长运营吗
应该会的,延长多长时间的话,得去看公告,或者上轨交俱乐部查看,都会有相关信息。
春节期间上海地铁运行吗
运行 但4号线部分区域因施工受到影响
19年上海地铁春节时间会不会延迟
上海申通地铁集团公布,2019春节假期,仍将执行常态延时运营计划:
即周五和周六,1、2、7、8、9、10号线(部分区段)延长运营时间。

2020上海地铁运营时间
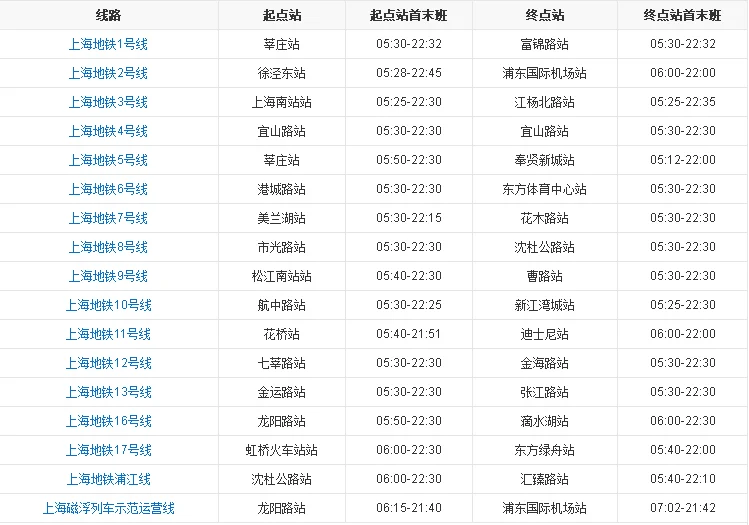
2020上海地铁运营时间一般是5:30-22:30,最早和最晚的都是上海地铁2号线05:28-22:45,上海各路地铁具体时间版安排如权下:

(5)上海地铁过年运营扩展阅读:
车票价格
上海地铁(除上海地铁5号线外)实行按里程计价多级票价:起步6千米以内3元;6千米以后每10千米增加1元。仅乘坐上海地铁5号线的实行优惠1元的多级票价体系。
导引标识
上海地铁在在距离车站500米至200米处的区域范围内,都设有站外导向标志牌。上海地铁车站一般均有2个以上的出入口。每个出入口处都有编号,标有:地铁标识、线路号、车站名、出入口编号的中英文。
春节期间上海地铁运营时间有改变吗
春节期间3号线北段从宝杨路到江杨北路不运行,其他都一样
2019上海地铁运营时间具体是如何
七号线的早上首班车是在5:30分发车,晚上最后一班的发车时间是22:30。每周五、周六延长运营时间。国家法定节假日前的最后一个工作日,末班车时间同周五、周六发车时刻。

上海轨道交通7号线参与上海轨道交通的各种优惠票价措施,包括公交轨道联乘优惠、公共交通卡地铁乘坐满70元累积优惠、出站换乘票价连续计算。
除了单程票和上海公共交通卡以外,上海轨道交通7号线亦接收各类特殊票卡,包括一日票、三日票、纪念票、手机卡、磁浮地铁一票通。敬老服务卡持卡人在工作日的非高峰时段和法定节假日全天,可免费乘坐上海市轨道交通;免费乘车凭证持有者可以免费乘坐地铁。
上海地铁2号线大年初一运营吗
当然能到,现在是春运,正是客流紧张的时候,交通肯定应该更给力。
2016年春节上海市地铁过年放假吗
2016年春来节期间,上海地铁照常运营不放假自的,地铁运营方的工作人员执行内部排班调休。
2016年春节期间,部分车站将迎大客流,为确保运营安全、平稳、有序,相关车站将加强人员疏导,并视情采取限流等措施。
如龙华寺将迎来一年一度的新年祈福活动,根据往年的客流规律,春节期间将出现烧香、祈福的客流明显增多的情况,尤其在除夕、初一、初五、元宵等重点时段,车站将呈现小时客流强度大、持续时间长的特点。同时,由于2015年底12号线龙华站开通,该站与11号线构成出站虚拟换乘,但车站周边地面道路通行条件恶劣,届时,车站将密切关注出入口外客流情况,采取分流措施,避免客流对冲,必要时申请封站,确保公共安全。在此提醒乘客关注地铁信息发布,现场根据车站引导通行。
春节、元宵期间,10号线豫园站也将迎来出行大客流,如遇客流激增,车站将采取分流、限流等措施,以确保安全,请乘客根据现场工作人员引导有序进出车站。
上海地铁当天的信息公告可见其官网查询。
上海地铁大年三十会提早结束运行吗
肯定不会.我们轨道交通作为城市的窗口,交通骨干运营单位,即使逢年过节也是加回班加点答,不会停运/休息的.相反春节期间,客流猛增,压力巨大,我们只会多增加工作人员,多加开列车运营,多关注安全.
为广大市民出行提供便利,维护车站和线路的正常秩序,保证轨道交通的安全迅速是我们每个地铁人神圣而光荣的职责所在.
请广大有此顾虑的市民放心!我就是众多默默守卫第一线,只求准点/便捷/舒适/满意的地铁员工中的一份子,也希望广大市民能够体谅我们工作的难处,也请在地铁故障/问题时冷静面对,因为我们不是神,我们也希望能够一马平川,谢谢!
您有任何疑问/需要/了解的,请访问我们上海地铁的官方网站:http://www.shmetro.com/
----上海地铁运营公司客运一分公司9号线桂林路站站长祝您出行平安.
评论列表: