从深圳龙华到江苏南京的地铁路线
龙华坐地铁龙华线(4号线)到深圳北站
坐D2282(7:00)或D2290(9:10)直达南京
问下北京地铁和广州南京深圳的比较
北京地铁是非盈利,南京已经很便宜的,比上海好多了,要是从江宁到仙林35个站才4块,你没有发现好多地方地铁公司的全称和北京不同吗?就像南京是“南京地下铁道有限责任公司”
南京地铁的运营信息
南京地铁项目规划工作于1984年启动,先后历经多次调整修改。新确定的南京地铁线网规划为24条线,总长度达到775公里。南京地铁一号线的开通,使南京成为继北京、天津、上海、广州、深圳之后,中国大陆第六个拥有地铁的城市。
南京地铁一号线于2005年5月15日开通观光运营 ,9月3日正式开通运营,南京地铁在开通首个整年就实现了收支平衡、略有盈余,一举打破了地铁运营亏损的世界性难题。 至2012年底,共计完成运营收入24.86亿元,收支盈余2.16亿元。
2012年年度报告显示,南京地铁日均客流已占全市公交出行量的三分之一,地铁已成为南京城市交通的骨干线、主力军,日均客流量超过110万人次,全年运送乘客约4亿人次。 2013年,南京地铁完成客运量4.52亿人次,与2012年相比增长了12.9%。
伴随着地铁线路的延伸和市民对地铁的信赖,地铁单日客流纪录不断刷新,2015年12月31日达到298.1万人次,创运营以来单日客流新高。 经统计,地铁日均客流已从2005年的15.22万人次,增加到2015年的220万人次,至2015年7月共计安全运送乘客27.3亿人次。 南京地铁2014年的客运总量,占江苏省地铁客运总量的73%。 2015年,南京地铁承担客运人数达7.17亿人次,占城市公交客运总量34.8%。 南京地铁客运情况年份 客运量(万人次) 南京常住人口(万人) 人均乘地铁次数(次) 2015年71700.00823.59872014年50300.00821.61612013年 45215.99 818.78 55 2012年 40060.20 816.10 49 2011年 34370.10 810.91 42 2010年 21459.40 800.76 27 2009年 11353.00 771.31 15 2008年 10379.00 758.89 14 2007年 8016.00 741.30 11 2006年 5798.00 719.06 8 2005年(9月至12月)1800.00686.003

深圳到南京的k26次列车到南京哪里下火车有地铁
你好。楼上说的不准确的。现在南京主要的客运火车站有:南京站,南京南,仙林站,六合站,中华门站。K26次车,到南京站的。南京站,地下就有地铁1号线。你根据指示牌走,错不了的。
希望我的回答能够帮到你,感谢对射手座★※紫殇团队的支持。
中国有几个城市有地铁
截至2018年10月,中国已开通地铁的城市有个。
分别是:北京地铁、港铁、天津轨道交通、上海地铁、台北捷运、广州地铁、长春轨道交通、大连地铁、武汉轨道交通、深圳地铁、南京地铁、高雄捷运、成都地铁、沈阳地铁、佛山地铁、重庆轨道交通、西安地铁、苏州轨道交通。
昆明轨道交通、杭州地铁、哈尔滨地铁、郑州地铁、长沙地铁、宁波轨道交通、无锡地铁、青岛地铁、南昌地铁、福州地铁、东莞轨道交通、南宁轨道交通、合肥轨道交通、桃园捷运、石家庄地铁、贵阳轨道交通、厦门地铁、乌鲁木齐地铁。

(5)深圳南京地铁扩展阅读:
中国地铁之最
1. 中国及世界最长里程的地铁系统:上海地铁。
截至2018年3月,上海地铁共开通地铁线路16条。1-13号线、16号线、17号线、浦江线,磁悬浮1条,全网运营线路总长673公里,车站395座。在世界城市地铁长度排名当中高居榜首,是世界上线路最长的地铁系统。
2. 中国埋深最深的地铁线路:重庆轨道交通10号线。
重庆轨道交通10号线,有一座埋深超过90米、深度居全国地铁站第一的车站——红土地站。打破了同一车站内6号线超60米的记录。车站内电扶梯的提升高度达到90米,甚至大大超过重庆人引以为傲的两路口皇冠大扶梯。
3. 中国面积最大的地铁站:南京地铁的新街口站。
新街口站是南京地铁1号线和南京地铁2号线的换乘车站,共有24个出口,为地下三层岛式车站。
南京的地铁发达还是深圳的地铁发达
南京地铁也就比深圳地铁晚一年 深圳地铁烂的要死 信号差的要死 中国移动坐四十分钟地铁加载个十分钟视频都加载不完 站台灯开的暗的要死 厕所在闸机外面 闸机里面也没个自动贩卖机卖个水什么的 地铁站过街也要安检 好多站出站口都有黄牛问你坐不坐车 噪音还大 原来在南京觉得南京地铁很一般 现在很想念
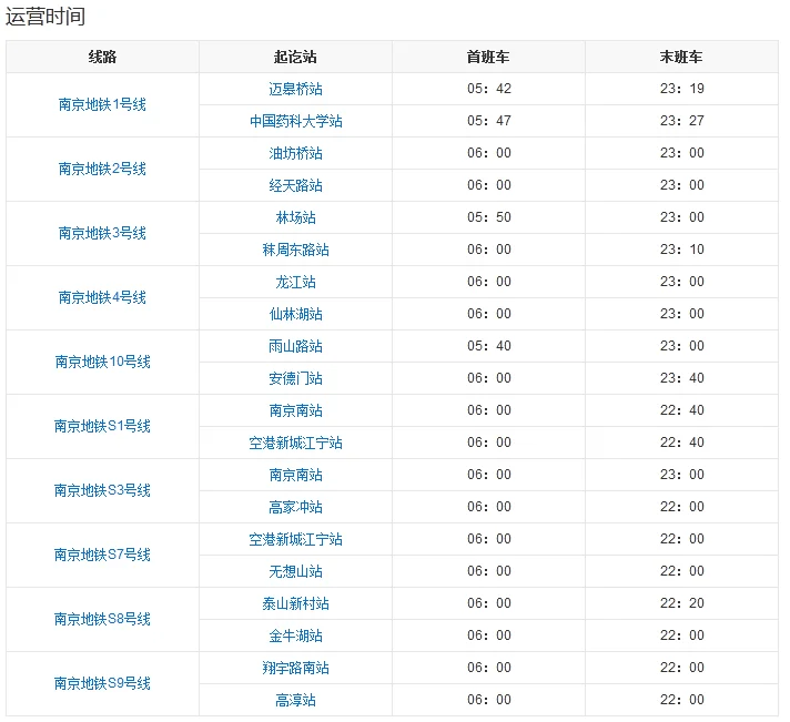
南京地铁运营时间
南京地铁运营时间,首班车在5:40到6:00之间。末班车在22:00到23:40之间。
具体看那一条线路,在哪个车站,可以参考下表:

(7)深圳南京地铁扩展阅读:
截至2020年5月,地铁1号线北延、地铁2号线西延、5号线、6号线、7号线、S6号线、S8号线南延、9号线一期、10号线二期正在建设中;3号线三期、4号线二期、11号线一期已进入前期准备阶段,将于2021年底前陆续开工建设。
2018年,南京地铁累计客流11.125亿人次,比2017年增加1.355亿人次,增长13.9%;日均客流304.79万人次,比2017年增加37.09万人次,增长12.2%。截至2019年6月,南京地铁日均客运量353万人次,最高日客运量415.5万人次。
1999年4月15日,国家批准南京地铁正式立项,南京成为继北京、天津、上海、广州、深圳之后第六个获批地铁的城市;5月28日,南京市地下铁道工程建设指挥部、南京市地下铁道总公司成立,《南京城市快速轨道交通线网规划》规划了6条地铁线、2条地铁支线、3条轻轨线。
南京地铁1号线、2号线及10号线全部由一列6节编组车厢的A型列车负责商业客运运营,地铁3号线由一列6节编组车厢的A型鼓型列车来执行商业客运运营,地铁4号线、S1号线、S3号线均采用6节B型鼓型列车,地铁S8号线采用4节编组B型鼓型列车,地铁S9号线采用3节编组B型鼓型列车进行客运运营。
南京地铁列车全部采用架空接触网,由列车受电弓在接触网上滑行接触受电,钢轮钢轨制式,轨距1.435米,其中1、2、4、10号线由南京浦镇车辆有限公司和法国阿尔斯通公司联合制造,3号线由南京浦镇车辆有限公司、新誉集团、庞巴迪运输瑞典有限公司联合制造,S1、S3、S8、S9号线均由南京浦镇车辆有限公司自主制造。
截至2020年8月,根据南京市《南京市城市总体规划(2018-2035)》中轨道交通规划篇,到2035年南京地铁线网规划共计27条线路,总长1030千米。其中,城区干线17条线路,包括地铁1号线-17号线;市域快线10条线路,包括S1号线-S9号线,以及暂命名18号线的机场快线。
南京地铁线路图
根据南京市《南京市城市总体规划(2007-2030)》中轨道交通规划篇,到2030年南京市的轨道交通线网将由17条轨道交通线构成共计617公里的网络。已建成线路南京地铁目前已建成一号线一期工程、一号线南延线工程、二号线一期工程、二号线东延线工程,并已投入运营。地铁1号线南京地铁1号线一期工程南起奥体中心,北至迈皋桥,形成南京主城区中轴线的快速交通走廊。项目投资概算约85亿元,线路全长21.72公里,其中地下线14.33公里,地面线7.49公里,设16座车站(其中地上车站5座:小行站、安德门站、中华门站、红山动物园站和迈皋桥站;地下车站11座:奥体中心站、元通站、中胜站、三山街站、张府园站、新街口站、珠江路站、鼓楼站、玄武门站、新模范马路站和南京站站)。全线设车辆基地一处,位于小行;控制中心一处,位于珠江路。工程于2000年底开工建设,2003年7月1日开始铺轨,2004年7月前实现“轨通”;2004年实现“电通”以及车辆“上线热滑”;2005年5月开始观光运行并逐渐延长观光运行线路长度,8月12日开始模拟试运行,9月3日全线正式建成试运营。2005年8月12日,南京地铁一号线开通试运营,对开的首班车分别于6:28从小行站、6:30于迈皋桥站开出,首日试运营共投入6辆列车,全天开行156车次。全长21.72公里的南京地铁一号线,工程总投资近85亿元人民币,于2000年12月开始投建,2005年9月3日正式开通运营。地铁一号线的开通,使南京成为继北京、天津、上海、广州、深圳之后,中国大陆第六个拥有地铁的城市。地铁1号线南延线南京地铁1号线南延线,从安德门站出发,向南途经天隆寺站、宁南大道站、花神庙站、规划中的高铁南京南站、双龙大道站、河定桥站、胜太路站、百家湖站,后折向东经小龙湾站、竹山路站、天印大道站、医大南园站、经贸学院站、南京交院站,最后到中国药大站,全长24.47公里,全线将设15个站。于2006年开工,已于2010年5月28日开通运营。地铁2号线南京地铁2号线一期,西起河西油坊桥,东至马群,全长25.14公里,共设车站19座,其中地下车站18座,高架1座,工程总概算约为104.5亿元。2号线沿途经过新街口、明故宫、孝陵卫、马群、汉中门、莫愁湖、河西等重要地区。地铁2号线已于2002年经中国批准立项,原定于2003年开工,后因宏观调控延期。南京地铁2号线于2005年12月全面开工,预计2010年5月28日通车运营。其中,二号线将在新街口以及元通两站与一号线交汇。在交汇的站点,将采用站内换乘的方式,使得从一号线转乘二号线无需出站重新购票。地铁2号线1期已于2010年5月28日开通运营。地铁2号线东延线南京地铁二号线东延线工程,由一期工程马群站沿宁杭公路向东延伸,设金马路站、仙鹤门站、学则路站、学海路站、仙境路东站、南大仙林校区站及经天路站。东延线线路全长12.665km,其中高架线约占全长86.8%;已于2010年5月28日开通运营。在建线路地铁3号线(2010年12月1日已举行开工典礼)地铁三号线是一条南北客流主干线,贯穿大江南北、连接主城江北新市区和东山新市区,连接禄口机场、南京南站、南京火车站及江北火车站最重要的对外交通枢纽。南京召开的三号线建设可行性研究专家论证会,要延长5公里,增加五站,全场43公里,共28个站,2010年1月10日开工。林场站、火炬南路站、泰冯路站,京新村站、浦珠路站、滨江路站、五塘村站、干休所站、南京站站、新庄站、市政府站、浮桥站、大行宫站、常府街站、夫子庙站、长乐路站、雨花门站、卡子门站、大明路站、站东路站、南京南站站、宏运大道站、秦淮路站、胜太西路站、天元西路站、高湖路站、双龙大道站、吉印大道、秣周路。就是所延长到九龙湖的。地铁1号线西延线(未来安德门-城西路将拆分为10号线,2010年12月1日已举行开工典礼)地铁一号线西延线从奥体中心站沿乐山路向北于兴隆大街路口拐向西并在扬子江大道下、绿博园正门口设置绿博园站;线路出站后穿越夹江、江心洲、长江主干道后进入江北地区。进入江北地区后,线路沿纬七路江北连接线北上,过宁合高速公路后左拐进入浦珠路,沿浦珠路、文德东路、文德西路、城西路向南,在城西路设终点站。西延线全长15.025km,全部为地下线,设车站7座(不含奥体中心站)。其中珠江东站为高架站地面站厅,其余均为地下车站。在终点城西路站设出入线接城西路停车场,并预留向南延伸的条件。在珠江东站附近建主变电所1座。预计2014年完成。待建线路地铁6号线(机场专线)调整过的6号线大致经过富贵山、明故宫、瑞金路、光华门、大明路、双龙街,然后抵达禄口机场。线路长33.4km,设站7座(含南京南站),主变电站1座,设秣陵车辆段。地铁4号线四号线西起浦口珍珠泉站,东至仙林东站;线路全长43.1km,其设车站21座,控制中心1座,主变电站3座,设仙林青龙车辆段和浦口采石场停车地铁1号线北延线从迈皋桥起往北,设4站,分别为:晓庄、吉祥庵、燕子矶、太新路,全部为高架线路,预计耗资5亿元。随着北延线规划的最新变动,一号线在原来4站的基础上,将再向北延伸3个站,由原来的4站增加到7个站点,直至新港开发区。不过,地铁部门表示,一号线将向北至新港开发区还没有最终定论,目前北延的站点还不能透露。线路名称里程(公里)站点名称南京地铁1号线41.8公里燕子矶、吉祥庵、晓庄(此三站为规划中的北延线,会有调整)、迈皋桥、红山动物园、南京站、新模范马路、玄武门、鼓楼、珠江路、新街口、张府园、三山街、中华门、安德门、天隆寺、宁南大道、花神庙、高铁南京南站、双龙大道、河定桥、胜太路、百家湖、小龙湾、竹山路、天印大道、经贸学院、南京交院、中国药大站南京地铁2号线37.8公里油坊桥、雨润大街、元通、奥体东站、兴隆大街、集庆门大街、云锦路、莫愁湖、汉中门、上海路、新街口、大行宫、西安门、明故宫、苜蓿园大街、下马坊、孝陵卫、钟灵街、马群、金马路、仙鹤门、学则路、仙林中心站、羊山公园、南大仙林校区、经天路南京地铁3号线39.6公里秣周路、吉印大道、双龙大道、高湖路、天元西路、胜太西路、秦淮路、宏运大道、高铁南京南站、站东路、大明路、卡子门、雨花门、长乐路、夫子庙、常府街、大行宫、浮桥、市政府、新庄、南京站、干休所、五塘村、滨江路、浦珠路、京新村、泰冯路、火炬南路、林场南京地铁4号线43.1公里珍珠泉、浦珠路、浦江站、滨江站、中保站、省委站、北京西路、云南路、鼓楼、市政府、九华门、省经干院、樱花路、岔路口东、徐庄软件园、金马路、灵山、东流、青龙、桦墅、仙林东南京地铁5号线36.0公里方家营、建宁路、下关、盐仓桥、福建路、虹桥、山西路、云南路、五台山、上海路、朝天宫、三山街、夫子庙、大中桥、光华门、小天堂、七桥瓮、大校场、岔路口、城北路、上元大街、新亭路、竹山路、科宁路、诚信大道、双龙大道、清水亭、将军路南京地铁6号线61.3公里新生圩、新港开发区、万寿村、营苑南路、长途东站、省经干院、富贵山、明故宫、光华门、大校场路、夹岗、高铁南京南站、正德学院、佛城西路、将军路、秣陵、禄口新城、禄口机场南京地铁7号线35.6公里仙新路、尧化门、尧化新村、丁家庄、万寿村、晓庄、窑上村、五塘村、黄方村、城河村、福建路、古平岗、省委、清凉河、莫愁湖、沿河街、应天路、东青石、新城科技园、明基医院、雨润路、恒河路、双闸、天河路、西善桥南京地铁8号线60.4公里铜井、翔凤路、江宁、板桥南、洲南路、板桥、板桥北、西善桥、油坊桥、小行、凤台南路、中华门、雨花门、康安里、小天堂、胜利村、双拜岗、沧波门、麒麟工业园、芝嘉路、麒麟镇、灵山、仙林中心、仙林站、仙新路南京地铁9号线17.1公里长途东站、曹后村、南京站、金桥市场、城河村、大桥南路、下关、农贸中心、定淮门、中保站、管子桥、汉中门大街、鼓楼科技园、清河路、绿博园南京地铁10号线41.4公里安德门、小行、中胜、元通、奥体中心、松花江西路、绿博园、江心洲、滨江大道、珠江东站、工业大学、凤凰大街、城西路、华山路、江浦站、三合村、明因寺、桥林、林山南京地铁11号线47.5公里虎桥路、行知路、珠江南、森林大道、珠江东站、七里河、浦江站、浦江东、新马路、柳州路、大桥、大桥北路、泰冯路、沿江镇、盘城、大厂西、大厂、大厂东、长芦南、长芦、六合区政府、雄州、凤凰山公园、六合火车站南京地铁12号线36.6公里黄里、桥林、林东、滨江村、生态科技园、红河路、运河路、黄河路、恒河路、油坊桥、兴梅路、春江新城、铁心桥大街、景明佳园、高铁南京南站南京地铁13号线19.1公里乐山路、管子桥、嫩江路、清凉山、广州路、五台山、珠江路、浮桥、马标、明故宫、月牙湖、后标营、长巷、胜利村、杨庄、白下科技园、大里墅、大里村南京地铁14号线34.2公里仙新路、新生圩、玉带、陈家庄、灵岩山、雄州东路、雄州、雄州西路、机场路、六合机场南京地铁15号线25.5公里经天路、仙林东、白象、栖霞站、宝华、龙潭站、保税物流中心南京地铁16号线16.7公里东流站、侯家塘、汤泉、汤山、万安、上峰南京地铁17号线24.3公里马群、湾营路、麒麟工业园、定林、建南、南庆、大里墅、上坊工业园、万安路、上坊、文靖路、金箔路、成山路、新亭路、杨家圩、胜太路、胜太西路、静淮街、正德学院








评论列表: